2020年CPA考试批次分配!(最新发布)
时间:2021-04-19 来源:网络整理 作者:佚名 点击:300次
“越晚报名的,考试批次分的越晚?” “第二批考试的,题目会更简单?” 2020年CPA考试较往年有一个很大的不同就是部分地区的专业阶段考试是分成了两个批次的!而且,两个批次之间的时间相差了整整6天! 于是乎,在这个临近考试还有60天的时候,不少考生就非常关注自己的考试批次分配: 自己是前面批次考还是后面的批次考?是按照什么原则分配考试批次的?什么时候才能知道自己的考试批次分配结果? 今天注会菌就把上面这些问题一次性给你讲清楚!记得收藏转发本文以备遗忘哦! Ps.正文开始之前,先来领取一份2020年考前6套真题卷,包含的六个科目:全部真题,还原考试现场,附答案、解析,考点、关联考点一应俱全;题目完全按照正式考试的题型和分数分布制作,可作为考前冲刺最后的查漏补缺工具,现在扫码直接参与领取↓ 2020年CPA考试特殊安排 以下城市考试分为两批! 根据中注协今年公布的报名简章,将在部分考区实施会计、税法和经济法三个科目两场考试,也就是把原本2天的专业阶段考试时间延长到了3天!
我们看下跟去年相比, 今年的考试安排具体时间:
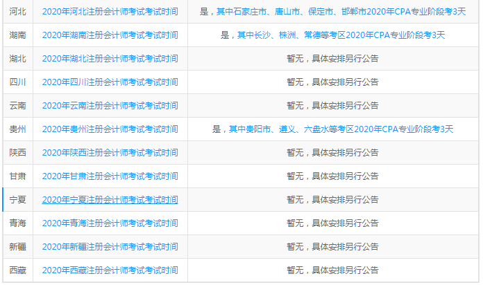
那么,部分地区是哪些地区呢?注会菌给大家收集整理了一下:
也就是说,以上专业阶段考3天的城市是有分为两个批次的考试的!注会考生们一定要看清自己所在地区是否分成了两个批次,更要看清楚自己属于哪一个批次考试! 越晚报名分配的考试批次越晚? 第二批考试会更简单? 其实,早在中注协刚刚公布部分地区实施两个批次考试的时候,就有不少考生反馈第二批考试的考生不是赚翻了!备考时间比第一批多了一周,而且还能参考第一批考生的考试情况做出相应的调整! 对于这样的观点,注会菌暂不表态。但是不少考生对此乐此不疲,都想着能不能分配到第二批次的考生上去,甚至还有网友猜测:是不是越晚报名,分配的考试批次就越晚?!先报名的就是先考?
类似于这种问题的还有之前我们说过的,是不是“越早报名,分配的考场越远?!”, 那么到真相如何? 2020年CPA考试批次分配! 有以下参考标准 对于今年这样的特殊安排,加之又临近考试,不少考生真的是满满的问号。
我们先回答一下上面的两个问题“越晚报名分配的考试批次越晚?第二批考试会更简单?”。 答案当然是基本上是不太可能的!我们自己盘算一下就很明白,如果是按这样的分配机制的话,报名期间就必然会有大量考生或将故意延后报名,这样的平衡被打破的话对于中注协的服务工作开展是十分不利的! 那么,2020年CPA考试批次分配到底是按照什么样的标准呢?中注协在答记者问当中就此作出解答:
关于如何安排三个科目的两批次考试,中注协说道:财政部注册会计师考试委员会办公室将根据报名及机位准备情况统筹安排考生参加三个科目相关场次的考试。 也就是说:“报名以及机位”两者的匹配统筹情况,决定了三个科目相关场次的考试批次分配! 至于不少考生所说的报名时间早晚,并没有说到其对于考试批次安排的影响! CPA考试最终分配批次 将在33天后最终确认! 上面我们讲了2020年CPA考试批次分配的大致分配原则及相关情况,那么最终我们每个人的考试批次什么时候能确定呢? 准考证上就会明确写明你当年的考试地点和考场、考试批次时间等详细信息:
(图来源:微博@猫猫酱) 那么今年什么时候打印准考证呢?根据中注协的通知文件,2020年准考试打印时间为9月15-30日、10月9-10日(每天8:00-20:00)。
也就是说,最早33天之后,你就能知道自己的考试地点啦! 机考系统提前熟练! 分到哪个批次都不用慌! (责任编辑:admin) |









